背景技術:
本實用屬于物料篩選技術領域,特別是涉及一種防堵塞式雙層滾筒篩。隨著科技的進步,人們在對物料進行篩分時,常會用到滾筒篩;雙層滾筒篩是一種根據物料的規格而進行兩次篩分的機械設備,其應用領域廣泛,如糧食的篩分,其在工作時將物料投入到內筒篩內,經內筒篩篩分過的物料將被外筒篩進行二次篩分,以去除雜質,提高物料的質量。
目前,市場上的雙層滾筒篩,其外筒篩一般固定或者外筒篩與內筒篩同步運動,其篩分效率較低;而市場上的運動不同步的內外筒篩,常需要至少倆電機對其進行驅動,增加了制造成本;在物料篩分的過程中,較大物料顆粒可能會堵塞篩網,導致其他物料無法篩分,其篩分效率進一步降低;因此有待研究一種經濟成本低、內外筒篩均非同步運動的防堵塞式滾筒篩。
技術實現要素:
本實用的目的在于提供一種防堵塞式雙層滾筒篩,通過在內筒篩和外筒篩之間設置滾刷,并分別通過帶輪和齒輪的傳動方式將滾刷、內筒篩和外筒篩的動力由同一電機進行輸出,解決了現有雙層滾筒篩因物料堵塞,篩分效率低和制造成本高的問題。
為解決上述技術問題,本實用是通過以下技術方案實現的:
本實用為一種防堵塞式雙層滾筒篩,包括機架和安裝在機架上的內筒篩和外筒篩;所述機架的截面輪廓為倒V形結構,所述機架的第一側板和第二側板的底端之間對稱連接有第一固定桿,所述第一側板的中部與所述第二側板的底部之間固定連接有傾斜的第二固定桿,所述第二固定桿上活動連接有若干托輪,所述第一側板的外側面固定連接有支撐板;所述內筒篩傾斜的安裝在所述第一側板和所述第二側板之間,所述內筒篩的中軸線上設置有轉動桿,所述轉動桿上均勻固定連接有若干組支撐桿,所述支撐桿的另一端與固定連接在所述內筒篩內表面上的環形支撐片固定連接,所述轉動桿的低端與所述第二側板活動連接,所述轉動桿的高端依次貫穿第一帶輪、第一齒輪、固定盤和所述第一側板,并與固定連接在所述支撐板頂面上的電機的輸出軸固定連接,所述固定盤的側面與所述第一側板的內側面固定連接,所述固定盤的邊緣設置有環形凹槽,所述固定盤的底部內側面固定連接有固定柱,所述固定柱上轉動連接有與所述第一齒輪相嚙合的第二齒輪,所述固定盤的頂部設置有進料口,所述進料口上固定連接有傾斜的進料斗;所述外筒篩位于所述內筒篩的外部,其中軸線與所述內筒篩的中軸線相重合,所述外筒篩的外表面固定連接有與所述托輪線接觸的固定板,所述外筒篩的側面固定連接有與所述環形凹槽相卡接的內齒輪,所述內齒輪與所述第二齒輪內嚙合,所述外筒篩的網孔尺寸小于所述內筒篩上的網孔尺寸,所述外筒篩與所述內筒篩的頂部之間設置有滾刷;所述滾刷的表面均勻設置有若干凸體,所述凸體之間設置有毛刷,所述凸體和所述毛刷分別與所述外筒篩和所述內筒篩相接觸,所述滾刷的兩端設置有轉軸,所述轉軸的低端與所述第二側板活動連接,所述轉軸的高端貫穿第二帶輪,并與所述第一側板活動連接,所述第二帶輪和所述第一齒輪之間連接有傳動帶。
進一步地,所述第一固定桿之間固定連接有若干第三固定桿。
進一步地,所述內齒輪寬度的五分之三位于所述環形凹槽內。
進一步地,所述凸體為橢圓形或半圓柱形結構體。
進一步地,所述凸體的材質為聚乙烯塑料。
進一步地,所述進料斗的一端位于所述內筒篩的內部,所述進料斗的另一端貫穿所述進料口,并延伸至所述第一側板的側面外側。
本實用具有以下有益效果:
1、本實用通過電機驅動與第一齒輪嚙合的第二齒輪,進而驅動內齒輪,最后實現外筒篩和內筒篩的同時非同步轉動,提高了外筒篩和內筒篩的篩分效率,減輕了人的勞動壓力。
2、本實用將電機的動力依次經第一齒輪、第二齒輪和內齒輪傳遞到外筒篩上,且電機的動力又經第一帶輪、傳動帶和第二帶輪傳遞到滾刷上,減少了動力源,只需一個電機即驅動整個裝置,減少了制造成本。
3、本實用通過設置滾刷,并在滾刷上均布設置有若干凸體和毛刷,便于對內筒篩和外筒篩上堵塞的物料進行清掃,提高雙層滾筒篩的篩分效率。
當然,實施本實用的任一產品并不一定需要同時達到以上所述的所有優點。

附圖說明
為了更清楚地說明本實用實施例的技術方案,下面將對實施例描述所需要使用的附圖作簡單地介紹,顯而易見地,下面描述中的附圖僅僅是本實用的一些實施例,對于本領域普通技術人員來講,在不付出創造性勞動的前提下,還可以根據這些附圖獲得其他的附圖。

附圖中,各標號所代表的部件列表如下:
1-機架,2-內筒篩,3-外筒篩,4-滾刷,101-第一側板,102-第二側板,103-第一固定桿,104-第二固定桿,105-托輪,106-支撐板,107-第三固定桿,201-轉動桿,202-支撐桿,203-環形支撐片,204-第一帶輪,205-第一齒輪,206-固定盤,207-電機,208-進料斗,301-固定板,302-內齒輪,401-凸體,402-毛刷,403-轉軸,404-第二帶輪,405-傳動帶,2061-環形凹槽,2062-固定柱,2063-第二齒輪,2064-進料口。
具體實施方式
下面將結合本實用實施例中的附圖,對本實用實施例中的技術方案進行清楚、完整地描述,顯然,所描述的實施例僅僅是本實用一部分實施例,而不是全部的實施例。基于本實用中的實施例,本領域普通技術人員在沒有作出創造性勞動前提下所獲得的所有其它實施例,都屬于本實用保護的范圍。
在本實用的描述中,需要理解的是,術語“開孔”、“上”、“下”、“厚度”、“頂”、“中”、“長度”、“內”、“四周”等指示方位或位置關系,僅是為了便于描述本實用和簡化描述,而不是指示或暗示所指的組件或元件必須具有特定的方位,以特定的方位構造和操作,因此不能理解為對本實用的限制。
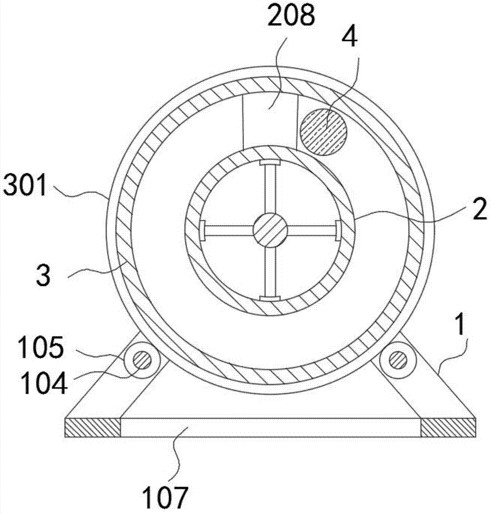
機架1的截面輪廓為倒V形結構,機架1也是傾斜放置在底面上,這樣有利于物料的篩分,機架1的第一側板101和第二側板102的底端之間對稱連接有第一固定桿103,第一側板101的中部與第二側板102的底部之間固定連接有傾斜的第二固定桿104,第二固定桿104上活動連接有若干托輪105,第一側板101的外側面固定連接有支撐板106。
內筒篩2傾斜的安裝在第一側板101和第二側板102之間,內筒篩2的中軸線上設置有轉動桿201,轉動桿201上均勻固定連接有若干組支撐桿202,支撐桿202的另一端與固定連接在內筒篩2內表面上的環形支撐片203固定連接,轉動桿201的低端與第二側板102活動連接,轉動桿201的高端依次貫穿第一帶輪204、第一齒輪205、固定盤206和第一側板101,并與固定連接在支撐板106頂面上的電機207的輸出軸固定連接,固定盤206的側面與第一側板101的內側面固定連接,固定盤206的邊緣設置有環形凹槽2061,固定盤206的底部內側面固定連接有固定柱2062,固定柱2062上轉動連接有與第一齒輪205相嚙合的第二齒輪2063,固定盤206的頂部設置有進料口2064,進料口2064上固定連接有傾斜的進料斗208。
外筒篩3位于內筒篩2的外部,其中軸線與內筒篩2的中軸線相重合,外筒篩3的外表面固定連接有與托輪105線接觸的固定板301,托輪105通過與固定板301的接觸來對外筒篩3起支撐作用,外筒篩3的側面固定連接有與環形凹槽2061相卡接的內齒輪302,當內齒輪302隨外筒篩3轉動時,其端部位于環形凹槽2061內,防止外筒篩3脫離預定轉動軌跡,內齒輪302與第二齒輪2063內嚙合,外筒篩3的網孔尺寸小于內筒篩2上的網孔尺寸,外筒篩3與內筒篩2的頂部之間設置有滾刷4。
滾刷4的表面均勻設置有若干凸體401,凸體401之間設置有毛刷402,凸體401和毛刷402分別與外筒篩3和內筒篩2相接觸,當外筒篩3和內筒篩2轉動時,凸體401能夠插入到外筒篩3和內筒篩2的網孔內,對堵塞物料進行清理,而毛刷402能夠及時的將堵塞的物料進行清掃,滾刷4的兩端設置有轉軸403,轉軸403的低端與第二側板102活動連接,轉軸403的高端貫穿第二帶輪404,并與第一側板101活動連接,第二帶輪404和第一齒輪205之間連接有傳動帶405。
其中,第一固定桿103之間固定連接有若干第三固定桿107。
其中,內齒輪302寬度的五分之三位于環形凹槽2061內。
其中,凸體401為橢圓形或半圓柱形結構體。
其中,凸體401的材質為聚乙烯塑料,聚乙烯塑料具有強度高,硬度高和耐摩擦的優勢。
其中,進料斗208的一端位于內筒篩2的內部,進料斗208的另一端貫穿進料口2064,并延伸至第一側板101的側面外側。
在本說明書的描述中,參考術語“一個實施例”、“示例”、“具體示例”等的描述意指結合該實施例或示例描述的具體特征、結構、材料或者特點包含于本實用的至少一個實施例或示例中。在本說明書中,對上述術語的示意性表述不一定指的是相同的實施例或示例。而且,描述的具體特征、結構、材料或者特點可以在任何的一個或多個實施例或示例中以合適的方式結合。
技術特征:
1.一種防堵塞式雙層滾筒篩,包括機架(1)和安裝在機架(1)上的內筒篩(2)和外筒篩(3),其特征在于:
所述機架(1)的截面輪廓為倒V形結構,所述機架(1)的第一側板(101)和第二側板(102)的底端之間對稱連接有第一固定桿(103),所述第一側板(101)的中部與所述第二側板(102)的底部之間固定連接有傾斜的第二固定桿(104),所述第二固定桿(104)上活動連接有若干托輪(105),所述第一側板(101)的外側面固定連接有支撐板(106);
所述內筒篩(2)傾斜的安裝在所述第一側板(101)和所述第二側板(102)之間,所述內筒篩(2)的中軸線上設置有轉動桿(201),所述轉動桿(201)上均勻固定連接有若干組支撐桿(202),所述支撐桿(202)的另一端與固定連接在所述內筒篩(2)內表面上的環形支撐片(203)固定連接,所述轉動桿(201)的低端與所述第二側板(102)活動連接,所述轉動桿(201)的高端依次貫穿第一帶輪(204)、第一齒輪(205)、固定盤(206)和所述第一側板(101),并與固定連接在所述支撐板(106)頂面上的電機(207)的輸出軸固定連接,所述固定盤(206)的側面與所述第一側板(101)的內側面固定連接,所述固定盤(206)的邊緣設置有環形凹槽(2061),所述固定盤(206)的底部內側面固定連接有固定柱(2062),所述固定柱(2062)上轉動連接有與所述第一齒輪(205)相嚙合的第二齒輪(2063),所述固定盤(206)的頂部設置有進料口(2064),所述進料口(2064)上固定連接有傾斜的進料斗(208);
所述外筒篩(3)位于所述內筒篩(2)的外部,其中軸線與所述內筒篩(2)的中軸線相重合,所述外筒篩(3)的外表面固定連接有與所述托輪(105)線接觸的固定板(301),所述外筒篩(3)的側面固定連接有與所述環形凹槽(2061)相卡接的內齒輪(302),所述內齒輪(302)與所述第二齒輪(2063)內嚙合,所述外筒篩(3)的網孔尺寸小于所述內筒篩(2)上的網孔尺寸,所述外筒篩(3)與所述內筒篩(2)的頂部之間設置有滾刷(4);
所述滾刷(4)的表面均勻設置有若干凸體(401),所述凸體(401)之間設置有毛刷(402),所述凸體(401)和所述毛刷(402)分別與所述外筒篩(3)和所述內筒篩(2)相接觸,所述滾刷(4)的兩端設置有轉軸(403),所述轉軸(403)的低端與所述第二側板(102)活動連接,所述轉軸(403)的高端貫穿第二帶輪(404),并與所述第一側板(101)活動連接,所述第二帶輪(404)和所述第一齒輪(205)之間連接有傳動帶(405)。
2.根據技術要求1所述的一種防堵塞式雙層滾筒篩,其特征在于,所述第一固定桿(103)之間固定連接有若干第三固定桿(107)。
3.根據技術要求1所述的一種防堵塞式雙層滾筒篩,其特征在于,所述內齒輪(302)寬度的五分之三位于所述環形凹槽(2061)內。
4.根據技術要求1所述的一種防堵塞式雙層滾筒篩,其特征在于,所述凸體(401)為橢圓形或半圓柱形結構體。
5.根據技術要求4所述的一種防堵塞式雙層滾筒篩,其特征在于,所述凸體(401)的材質為聚乙烯塑料。
6.根據技術要求1所述的一種防堵塞式雙層滾筒篩,其特征在于,所述進料斗(208)的一端位于所述內筒篩(2)的內部,所述進料斗(208)的另一端貫穿所述進料口(2064),并延伸至所述第一側板(101)的側面外側。
技術總結
本實用公開了一種防堵塞式雙層滾筒篩,涉及物料篩選技術領域。本實用包括機架和安裝在機架上的內筒篩和外筒篩;機架的截面輪廓為倒V形結構,機架的第一側板和第二側板的底端之間對稱連接有第一固定桿;內筒篩傾斜的安裝在第一側板和第二側板之間;外筒篩位于內筒篩的外部,其中軸線與內筒篩的中軸線相重合,外筒篩的外表面固定連接有與托輪線接觸的固定板;滾刷的表面均勻設置有若干凸體,凸體之間設置有毛刷,滾刷的兩端設置有轉軸。本實用通過在內筒篩和外筒篩之間設置滾刷,并分別通過帶輪和齒輪的傳動方式將滾刷、內筒篩和外筒篩的動力由同一電機進行輸出,避免了雙層滾筒篩的堵塞,并提高了篩分效率,減少了制造成本。
版權說明:如非注明,本站文章均為河南新鄉振動篩廠家原創,轉載請注明出處和附帶防堵塞式雙層滾筒篩設計技術及實用效果本文鏈接。